压盖限位伸缩接头是由松套伸缩接头和两个限位短管组合而成。
压盖限位伸缩接头能防止管道因超量位移导致补偿接头的泄漏和损坏,压盖限位伸缩接头主要用于在允许位移范围内吸收轴向位移和缓解轴向压力推力的管道松套连接。
压盖限位伸缩接头的特点:压盖限位伸缩接头伸缩量大,(10mm-25mm)安装简单方便,使用寿命长(使用寿命长达20年-30年)维修方便。
压盖限位伸缩接头的连接方式:
压盖限位伸缩接头管道两边以焊接的方式连接。
压盖式限位伸缩接头的安装方法:
压盖限位伸缩接头两边均与管道焊接,压盖限位伸缩接头在安装时松开压盖螺母,调整至安装长度后把两端的短管与管道焊接,很后用对角法均匀拧紧螺母,调整好防脱螺母即可。上海尊龙凯时人生就是搏!官网专业生产伸缩器,进口好的原料与设备,颇负盛名的人才与技术,产品质量过硬符合~标准,产品的每一步都经过了严格的检验与检测,专业致力管道行业三十年,质量值得您的信赖。上海尊龙凯时人生就是搏!官网管道设备有限公司期待与您合作.
【产品名称】:BY(SSJB-2)型压盖式松套限位伸缩接头(BY压盖松套限位补偿接头)
【产品别名】:法兰式松套伸缩器SSJB-2型压盖松套限位伸缩接头
【产品规格】:【DN32mm-DN4000mm】
【产品压力】:0.6-2.5MPa
【产品】:
【适用范围】:【弱酸、弱碱、弱腐蚀类、油、热水、冷水等】
【产品材质】:碳钢,球墨铸铁,不锈钢.
【产品颜色】:蓝色,可根据客户要求调色.
【工作温度】:-40度至80度
购买热线: 021-622-00727
BY(SSJB-2)压盖松套限位伸缩接头功能介绍:它是由松套伸缩接头和法兰接头等构件组成。能防止管道因超量位移导致补偿接头的泄漏和损坏。 BY(SSJB-2)压盖松套限位伸缩接头的两端由法兰套管组成,大大提高了管道线路连接处的稳定性。主要用于在允许位移范围内吸收轴向位移和承受轴向压力推力的管道松套连接,加上本身具有良好的补偿管道位移的特点还能实现降振减噪的功能,产品本身的优势简直是无可挑剔。
1伸缩量大、安装简单方便。
2结构独特,性能稳定,使用寿命长(使用寿命长达10—30年)、维修方便。
3良好的补偿管道位移的特点还能实现降振减噪的功能。
近日,中国能建沈阳机械公司承建的河北高昌南水北调配套输水工程滤网项目实现通水。
由于该项目的成功与否关系到保定市居民饮用水和日常生活用水及工业生产用水的重大民生问题,沈阳机械公司全体干部职工团结协作,精心组织设计、采购和生产部门交叉作业、合理调配、加班加点、不辞劳苦,从合同正式签订到交货仅历时30天,于2015年12月31日顺利将两台板框式旋转滤网,按南水北调办公室要求运抵河北高昌南水北调工程使用现场。2016年元旦期间,成功将设备一次安装调试完成,并于1月25日顺利完成试运行并实现系统通水,创造了沈阳机械公司又一项进度里程碑,并解决了保定市亟待解决的重大民生问题,为沈阳机械公司在南水北调工程后续市场开发和非电市场开拓奠定了坚实基础。
上海尊龙凯时人生就是搏!官网作为此次的BY(SSJB-2)压盖松套限位伸缩接头产品的主要供应商,将全心全意地做好管道配件的供应工作,并严格要求自身产品的质量,确保该项目使用了本公司的产品之后能够对于整个项目管线起到保障作用。专业生产BY(SSJB-2)压盖松套限位伸缩接头三十年,产品质量值得您的信赖。

请点击图片看大图
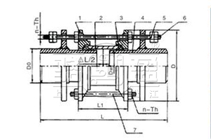
| 序号No | 名称Name | 数量Quantity | 材料Material |
| 1 | 本体Body | 1 | QT400-15,Q235A,ZG230-450,20 |
| 2 | 密封圈Gasket | 1 | NBR |
| 3 | 压盖Follower | 2 | Q235A,16Mn,20 |
| 4 | 限位短管 | 2 | Q235A,20,16Mn |
| 5 | 螺柱bolt | n | Q235A,35,1Cr8Ni9Ti |
| 6 | 螺母Nut | 5n | Q235A,20,1Cr8Ni9Ti |
请点击图片看大图
专业制造、专业服务,尊龙凯时人生就是搏!官网为你创造更多价值 !
不断提升服务质量,精益求精,“真诚的服务”是尊龙凯时人生就是搏!官网永恒的主题。尊龙凯时人生就是搏!官网严格按照 要求,质量严格把关,责任到人,确保生产、销售、服务的健康运行。加强与用户沟通,竭诚为广大客户提供优质产品,至善至美服务,特此尊龙凯时人生就是搏!官网做出如下承诺:
产品标准
产品严格按照中国 GB、HG 标准和美国 API 等标准设计、制造、验收。密封面硬度达到规定要求,宽度超过标准。
售前服务
产品介绍,技术交流,非标产品设计,疑难解答。
售中服务
1、守信合同,保证及时供货,随时保持与客户联系
2、对特殊或复杂的产品,我厂安排技术人员对用户进行产品使用、故障排除、调式及维修进行培训和指导。
售后服务
1、尊龙凯时人生就是搏!官网产品质保期为自出厂起 12 个月,实行“三包”服务(包退、包换、包修)。
2、产品在使用中我厂定期组织技术、检查人员进行访问,征询用户对产品质量、使用状况、改进意见等方面的反馈,以便进一步提高产品质量。
3、对用户投诉产品质量问题,快速做出反映,售后服务人员在 24-36 小时(省外 48 小时)赶赴现场。
4、对售后服务,要求用户填写服务后的质量反馈表,并做出鉴定意见,共同提高尊龙凯时人生就是搏!官网的产品质量与服务质量。
1、客户采购清单请传真至 E-mail:,或来电咨询 。
2、收到客户采购清单,为客户提供产品型号选型与报价(价格清单)。
3、具体商定:交货期、特殊要求等事宜。
订货须知
1、客户对产品有特殊要求,须在订货合同中提供以下说明:
(1)结构长度
(2)连接形式
(3)公称直径、全通径、缩径、管道尺寸
(4)用介质及温度、压力范围
(5)实验、检验标准及其他要求本厂可根据客户特殊要求配置定做和设计特殊产品。
2、本厂可根据客户特殊要求配置定做和设计特殊产品。
3、如由客户提供确定的产品类型和型号时,客户应正确说明其型号的含义和要求,在供需双方理解一致的条件下签订合同。
您可以填写下面的表格,把您的联系方式和产品需求提交给尊龙凯时人生就是搏!官网,尊龙凯时人生就是搏!官网将尽快与您联系解决,谢谢!为了能及时和您取得联系,请您务必完整填写您的联系方式和需求信息。
您也可以联系在线客服