万向旋转球形补偿器的作用是借其旋转来吸收热力管道的热位移,以起到热补偿的作用。因此旋转筒结构是否合理是至关重要的。旋转球形补偿器主要依靠球体的角位移来吸收或补偿管道一个或多个方向上横向位移,该补偿器应成对使用,单台使用没有补偿能力,但它可作管道万向接头使用。
【产品名称】:万向旋转球形补偿器
【产品别名】:球形补偿器
【产品规格】:【DN32mm-DN4000mm】
【产品压力】:0.6-2.5MPa
【产品】:
【适用范围】:【弱酸、弱碱、弱腐蚀类、油、热水、冷水等】
【产品材质】:碳钢,球墨铸铁,不锈钢.
【产品颜色】:蓝色,可根据客户要求调色.
【工作温度】:-40度至80度
购买热线: 021-622-00727
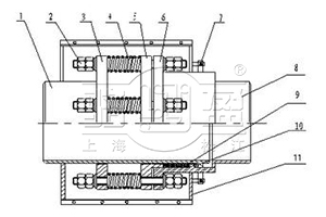
万向旋转球形补偿器由旋转筒、压盖法兰、弹簧、紧固法兰、导向滑圈、填料、挡环、限位环、外套管、变径管、螺杆、螺母构成。紧固法兰、弹簧、压盖法兰与外套管法兰之间用螺栓把紧,它们与旋转筒之间分别用导向滑圈进行径向旋转以便有利于旋转筒的转动。万向旋转球形补偿器具有补偿能力大,流体阻力和变形应力小,无盲板力且对固定支座的作用力小等优点。同时在此设备上增设了可注填料装置这一先进技术,使得该设备密封性能更加稳定可靠。即使长时间运行出现渗漏时,也可不需停气减压便可维护且十分方便快捷。特别对远距离热能的输送,有明显的经济效益和社会效益。
万向旋转球形补偿器是解决管道热胀冷缩的一种设备,可广泛应用于冶金、石油、化工、电力、轻工、纺织、建筑和国防建设等行业中,具体用途如下 :
1、用于热力管道中,补偿热膨胀,其补偿能力为冂补偿器的5-10倍。
2、用于火箭发射台、飞机排气设施上,补偿冲击膨胀。
3、用于冶金设备(如高炉、转炉、电炉、加热炉等)的汽化冷却系统中,作万向接头用。
4、用于建筑物的各种管道中,防止因地基产生不均匀下沉、或地震等意外原因对管道产生破坏。
2016年1月21日,~节能中心在京召开伊泰伊犁能源有限公司100万吨/年煤制油示范项目节能评审会。专家组听取了项目单位关于建设情况和节能评估内容的汇报,对评估报告中存在的问题进行了质询和研讨,并形成了专家组评审意见。
伊泰伊犁能源有限公司100万吨/年煤制油示范项目位于新疆维吾尔族自治区伊犁哈萨克自治州察布查尔锡伯自治县海努克乡境内伊泰伊犁工业园区内。
本项目总投资1632218.96万元,生产规模为油品100万吨/年。主体工程包括空分、煤气化、气体净化、油品合成、尾气制氢和油品加工等装置;公用工程包括热电站、伊泰伊犁能源有限公司是内蒙古伊泰集团下属公司,成立于2009年9月,注册资本为9.7亿元,负责新疆伊犁煤制油项目的投资、建设和运营管理。伊泰集团此前已在内蒙古鄂尔多斯大路工业园区建成16万吨/年煤制油项目。此外,伊泰集团位于内蒙古鄂尔多斯市大路工业园区的200万吨/年煤制油项目已于2013年获~发改委路条,项目建设周期约为3-4年。
上海尊龙凯时人生就是搏!官网此次作为该项目的主要管道系统的补偿器供应商将确保产品的优质和高效。万向旋转球形补偿器是解决管道热胀冷缩的一种设备,可广泛应用于冶金、石油、化工、电力、轻工、纺织、建筑和国防建设等行业中。
该项目建设规划及主要建设内容为:540万吨/年煤制油及配套设施,主要产品将包括柴油、石脑油及液化石油气。本项目预计将在未来五年内建设100万吨/年的煤制油项目,后续产能将逐步扩展至540万吨/年。首期工程规模为100万吨/年,产品主要为LPG、石脑油、柴油及改质汽油,副产品为硫磺和混醇等。

请点击图片看大图
请点击图片看大图
专业制造、专业服务,尊龙凯时人生就是搏!官网为你创造更多价值 !
不断提升服务质量,精益求精,“真诚的服务”是尊龙凯时人生就是搏!官网永恒的主题。尊龙凯时人生就是搏!官网严格按照 要求,质量严格把关,责任到人,确保生产、销售、服务的健康运行。加强与用户沟通,竭诚为广大客户提供优质产品,至善至美服务,特此尊龙凯时人生就是搏!官网做出如下承诺:
产品标准
产品严格按照中国 GB、HG 标准和美国 API 等标准设计、制造、验收。密封面硬度达到规定要求,宽度超过标准。
售前服务
产品介绍,技术交流,非标产品设计,疑难解答。
售中服务
1、守信合同,保证及时供货,随时保持与客户联系
2、对特殊或复杂的产品,我厂安排技术人员对用户进行产品使用、故障排除、调式及维修进行培训和指导。
售后服务
1、尊龙凯时人生就是搏!官网产品质保期为自出厂起 12 个月,实行“三包”服务(包退、包换、包修)。
2、产品在使用中我厂定期组织技术、检查人员进行访问,征询用户对产品质量、使用状况、改进意见等方面的反馈,以便进一步提高产品质量。
3、对用户投诉产品质量问题,快速做出反映,售后服务人员在 24-36 小时(省外 48 小时)赶赴现场。
4、对售后服务,要求用户填写服务后的质量反馈表,并做出鉴定意见,共同提高尊龙凯时人生就是搏!官网的产品质量与服务质量。
1、客户采购清单请传真至 E-mail:,或来电咨询 。
2、收到客户采购清单,为客户提供产品型号选型与报价(价格清单)。
3、具体商定:交货期、特殊要求等事宜。
订货须知
1、客户对产品有特殊要求,须在订货合同中提供以下说明:
(1)结构长度
(2)连接形式
(3)公称直径、全通径、缩径、管道尺寸
(4)用介质及温度、压力范围
(5)实验、检验标准及其他要求本厂可根据客户特殊要求配置定做和设计特殊产品。
2、本厂可根据客户特殊要求配置定做和设计特殊产品。
3、如由客户提供确定的产品类型和型号时,客户应正确说明其型号的含义和要求,在供需双方理解一致的条件下签订合同。
您可以填写下面的表格,把您的联系方式和产品需求提交给尊龙凯时人生就是搏!官网,尊龙凯时人生就是搏!官网将尽快与您联系解决,谢谢!为了能及时和您取得联系,请您务必完整填写您的联系方式和需求信息。
您也可以联系在线客服