FGFB型矩形波纹补偿器属于一种补偿元件。利用其工作主体波纹管的有效伸缩变形,以吸收管线、导管、容器等由热胀冷缩等原因而产生的尺寸变化,或补偿管线、导管、容器等的轴向、横向和角向位移。矩形波纹补偿器也可用于降噪减振。在现代工业中用途广泛。作为敏感元件、减震元件、补偿元件、密封元件、阀门元件及管路连接件,广泛应用于自动控制和测量仪表、真空技术、机械工业、电力工业、交通运输及原子能工业等领域。
【产品名称】:FGFB型矩形波纹补偿器
【产品别名】:矩形波纹补偿器
【产品规格】:【DN300mm-DN2000mm】
【产品】:
【适用范围】:【弱酸、弱碱、弱腐蚀类、油、热水、冷水等】
【产品材质】:碳钢,球墨铸铁,不锈钢.
【产品颜色】:蓝色,可根据客户要求调色.
【工作温度】:-40度至80度
购买热线: 021-622-00727
热力管线在施工中因为不可避免地会产生不同程度的同心度偏差或敷设应力,从而使运行中的热力管线严重偏离设计位置,因此导致波纹管补偿器在运行中受到不同程度的弯曲应力,影响波纹补偿器的正常工作,甚至缩短波纹补偿器的使用寿命,给热力管线的安全运行留下了隐患。避免波纹补偿器受到弯曲应力的破坏,是热力管线施工中不可忽视的关键环节。
1.在管道穿越基础梁或地下室墙的时候,为了避免基础的沉降对管道的压力,需要安装方形补偿器。
2.在热力管道过长的情况下,需要安装方形补偿器来减小热涨冷缩对管道的拉伸。
3.FGFB矩形波纹补偿器采用奥氏体不锈钢材料或按用户要求的材料制造,具有优良的柔软性,耐蚀性,耐高温性(-235℃ ~ +450℃),在管路中可对方向进行连接,用以温度补偿和吸收振动、降低噪声、改变介质输送方向、消除管道间或管道与设备间的机械位移等
当日,在哈密市石城子干渠青年渠施工现场,施工人员利用挖掘机将泄水涵管从青年渠底部穿过。
据了解,城北防洪建设工程是哈密市今年的重点水利项目,项目计划投资1200万元,工程防洪标准为20年一遇。工程可将石城子河道下泄洪水经过分流减小洪峰流量,通过新建分水口、防洪堤及节制分水闸等建筑物,结合下游已建防洪堤及泄洪渠将洪水分别导入下游312国道北侧多个砂石料鱼鳞坑进行滞洪,待洪水沉淀稳定后,再采用引水管道及水泵抽水设施将鱼鳞坑内蓄水分别泄入泄洪渠,蓄水通过河道流经哈密市引南增水、人民公园、广东路南侧健身广场等地,很后汇入花园乡水库。
上海尊龙凯时人生就是搏!官网生产的矩形波纹补偿器FGFB矩形波纹补偿器采用奥氏体不锈钢材料或按用户要求的材料制造,具有优良的柔软性,耐蚀性,耐高温性(-235℃ ~ +450℃),在管路中可对方向进行连接,用以温度补偿和吸收振动、降低噪声、改变介质输送方向、消除管道间或管道与设备间的机械位移等,该产品的安装能够大大减低管道运行过程中出现事故的几率。
据项目负责人、哈密市水利规划勘测设计队副队长刘海涛介绍,青年渠承担着哈密兵地农业灌溉的重要任务,为了不影响春耕灌溉用水,哈密市提前启动了青年渠段泄水管穿越工作,保证渠道在春灌期间的正常运行。
工程建成后将防范山区的融雪、暴雨、戈壁暴雨洪水及水库下泄洪水,保障哈密市区和周边城郊乡镇、团场群众的生命和财产安全,并补充下游生态用水。

请点击图片看大图
| 序号 | 名称 | 数量 | 材质 |
| 1 | 波纹管 | 1 | 不锈钢304,不锈钢316 |
| 2 | 端接管 | 2 | QT400-15,Q235A,ZG230-450,20 |
| 3 | 限位螺栓 | n | q235A,35,1Cr8Ni9Ti |
| 4 | 螺母 | 4n | Q235A,20,1Cr8Ni9Ti |
| 5 | 内套筒 | 1 | QT400-15,Q235A,ZG230-450,20 |
请点击图片看大图
|
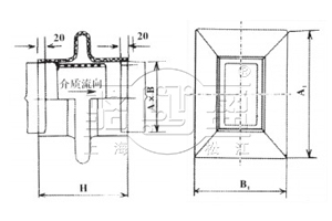
公称通径 Nominal Diameter DN |
A | B | A1 | H | B1 |
重量 Weight kg |
| 300*400 | 300 | 400 | 609 | 286 | 709 | 23 |
| 300*500 | 500 | 809 | 25.7 | |||
| 300*600 | 600 | 909 | 28.5 | |||
| 300*700 | 700 | 1009 | 31.2 | |||
| 400*500 | 400 | 500 | 709 | 286 | 809 | 28.5 |
| 400*600 | 600 | 909 | 31.2 | |||
| 400*700 | 700 | 1009 | 34.1 | |||
| 400*800 | 800 | 1109 | 36.8 | |||
| 500*600 | 500 | 600 | 809 | 286 | 909 | 34.1 |
| 500*800 | 800 | 1109 | 39.6 | |||
| 500*900 | 900 | 1209 | 42.4 | |||
| 500*1000 | 1000 | 913 | 1413 | 69 | ||
| 600*700 | 600 | 700 | 909 | 286 | 1009 | 39.6 |
| 600*800 | 800 | 1109 | 42.4 | |||
| 600*900 | 900 | 1013 | 1313 | 69 | ||
| 700*500 | 700 | 500 | 809 | 286 | 1009 | 36.8 |
| 700*700 | 700 | 1009 | 42.4 | |||
| 700*800 | 800 | 1113 | 1213 | 69 | ||
| 800*800 | 800 | 800 | 1213 | 73.1 | ||
| 800*1200 | 1200 | 1613 | 90 | |||
| 800*1600 | 1600 | 2013 | 106.8 | |||
| 900*400 | 900 | 400 | 709 | 1209 | 39.6 | |
| 900*700 | 700 | 1113 | 1313 | 73.1 | ||
| 900*1200 | 1200 | 1313 | 1613 | 94.1 | ||
| 1000*600 | 1000 | 600 | 1013 | 286 | 1418 | 73.1 |
| 1000*700 | 700 | 1113 | 77.4 | |||
| 1000*800 | 800 | 1213 | 81.5 | |||
| 1000*1000 | 1000 | 1413 | 90 | |||
| 1200*600 | 1200 | 600 | 1013 | 286 | 1613 | 81.5 |
| 1200*700 | 700 | 1113 | 85.7 | |||
| 1200*800 | 800 | 1213 | 90 | |||
| 1200*1000 | 1000 | 1413 | 98.3 | |||
| 1200*1200 | 1200 | 1613 | 106.8 | |||
| 1400*700 | 1400 | 700 | 1113 | 286 | 1813 | 94.1 |
| 1400*800 | 800 | 1213 | 98.3 | |||
| 1400*900 | 900 | 1313 | 102.5 | |||
| 1400*1000 | 1000 | 1413 | 106.8 | |||
| 1400*1200 | 1200 | 1613 | 115 | |||
| 1500*800 | 1500 | 800 | 1213 | 286 | 1913 | 102.5 |
| 1500*900 | 900 | 1313 | 106.8 | |||
| 1500*1000 | 1000 | 1413 | 110.9 | |||
| 1500*1200 | 1200 | 1613 | 119.3 | |||
| 1600*1000 | 1600 | 1000 | 1413 | 411 | 2013 | 115 |
| 1600*1200 | 1200 | 1613 | 123.5 | |||
| 1600*1400 | 1400 | 1813 | 131.9 | |||
| 1600*1600 | 1600 | 2013 | 140.3 | |||
| 1800*900 | 1800 | 900 | 1313 | 286 | 2213 | 119.3 |
| 1800*1000 | 1000 | 1413 | 123.5 | |||
| 1800*1200 | 1200 | 1613 | 131.9 | |||
| 1800*1400 | 1400 | 1813 | 140.3 | |||
| 1800*1800 | 1800 | 2213 | 157.1 | |||
| 2000*1000 | 1990 | 1000 | 1413 | 286 | 2403 | 130.8 |
| 2000*1300 | 1300 | 1113 | 143.4 | |||
| 2000*1600 | 1600 | 2013 | 155.9 | |||
| 2000*1800 | 1800 | 2213 | 164.4 | |||
| 2000*2000 | 2000 | 2413 | 172.8 |
专业制造、专业服务,尊龙凯时人生就是搏!官网为你创造更多价值 !
不断提升服务质量,精益求精,“真诚的服务”是尊龙凯时人生就是搏!官网永恒的主题。尊龙凯时人生就是搏!官网严格按照 要求,质量严格把关,责任到人,确保生产、销售、服务的健康运行。加强与用户沟通,竭诚为广大客户提供优质产品,至善至美服务,特此尊龙凯时人生就是搏!官网做出如下承诺:
产品标准
产品严格按照中国 GB、HG 标准和美国 API 等标准设计、制造、验收。密封面硬度达到规定要求,宽度超过标准。
售前服务
产品介绍,技术交流,非标产品设计,疑难解答。
售中服务
1、守信合同,保证及时供货,随时保持与客户联系
2、对特殊或复杂的产品,我厂安排技术人员对用户进行产品使用、故障排除、调式及维修进行培训和指导。
售后服务
1、尊龙凯时人生就是搏!官网产品质保期为自出厂起 12 个月,实行“三包”服务(包退、包换、包修)。
2、产品在使用中我厂定期组织技术、检查人员进行访问,征询用户对产品质量、使用状况、改进意见等方面的反馈,以便进一步提高产品质量。
3、对用户投诉产品质量问题,快速做出反映,售后服务人员在 24-36 小时(省外 48 小时)赶赴现场。
4、对售后服务,要求用户填写服务后的质量反馈表,并做出鉴定意见,共同提高尊龙凯时人生就是搏!官网的产品质量与服务质量。
1、客户采购清单请传真至 E-mail:,或来电咨询 。
2、收到客户采购清单,为客户提供产品型号选型与报价(价格清单)。
3、具体商定:交货期、特殊要求等事宜。
订货须知
1、客户对产品有特殊要求,须在订货合同中提供以下说明:
(1)结构长度
(2)连接形式
(3)公称直径、全通径、缩径、管道尺寸
(4)用介质及温度、压力范围
(5)实验、检验标准及其他要求本厂可根据客户特殊要求配置定做和设计特殊产品。
2、本厂可根据客户特殊要求配置定做和设计特殊产品。
3、如由客户提供确定的产品类型和型号时,客户应正确说明其型号的含义和要求,在供需双方理解一致的条件下签订合同。
您可以填写下面的表格,把您的联系方式和产品需求提交给尊龙凯时人生就是搏!官网,尊龙凯时人生就是搏!官网将尽快与您联系解决,谢谢!为了能及时和您取得联系,请您务必完整填写您的联系方式和需求信息。
您也可以联系在线客服